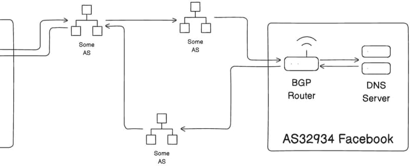
The article explores the robustness and fragility of the Internet, discussing DNS resolution, the border gateway protocol (BGP), and the power of core protocols.
•4m read time• From blog.bytebytego.com
Sort:
The article explores the robustness and fragility of the Internet, discussing DNS resolution, the border gateway protocol (BGP), and the power of core protocols.
Sort: